Параметры и цоколевка тиристоров Т112-10-16

Цоколевка:
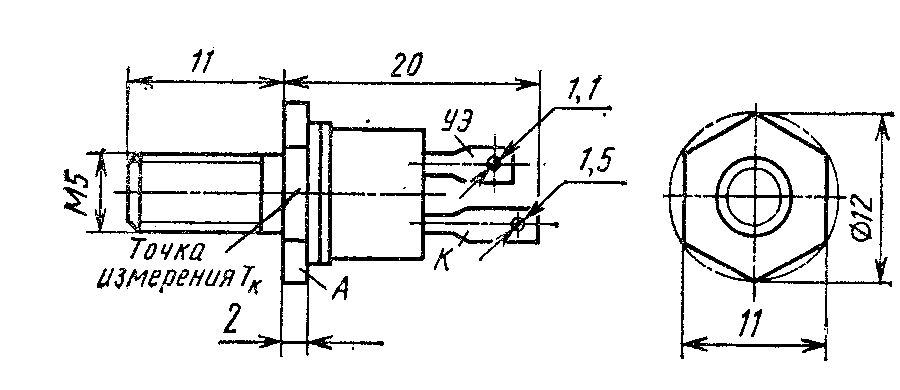
Корпус тиристоров Т112-10, Т112-16

Параметры тиристоров Т112-10, Т112-16

Тип прибора Uобр.,п, Uобр.,max, В Uзс.,п, Uзс.,max, В Iос.,и, А Iос.,ср., Iос.,п., А Uос.,и, Uос., В Uу.,нот, В Iзс.,п., Iзс., мА
Т112-10 100-1200 100-1200 16 10 1,85 0,3 2,5
Т112-16 100-1200 100-1200 25 16 1,80 0,3 3,0
 
Тип прибора Iобр.,п., Iобр., мА Iу.,от., Iу,з,и, мА Uу.,от, Uу,от,и, В dUзс/dt, В/мкс tвкл, мкс tвыкл, мкс
Т112-10 2,5 100 3 50-1000 10 100
Т112-16 3,0 100 3 50-1000 10 100



Условные обозначения электрических параметров тиристоровОглавление справочника.
Hosted by uCoz